史上最全的法兰,你知道多少?
PN系列公称压力等级采用PN表示,包括以下九个等级:PN2.5、PN6、PN10、PN16、PN25、PN40、PN63、PN100、PN160。
Class系列公称压力等级采用Class表示,包括以下六个等级:Class150、 Class300、Class600、Class900、Class1500、Class2500。
1、按化工行业标准来分,法兰为:
板式平焊法兰(PL) 带颈平焊法兰(SO) 带颈对焊法兰(WN) 整体法兰(IF)
承插焊法兰(SW) 螺纹法兰(Th)
对焊环松套法兰(PJ/SE) 法兰盖(BL) 平焊环松套法兰(PJ/PJ) 衬里法兰盖(BL(s))
2、按石化(SH)行业标准来分,法兰分为:
螺纹法兰(PL) 对焊法兰(WN)
平焊法兰(SO) 承插焊法兰(SW)
松套法兰(LJ) 法兰盖(不表注)
3、按机械(JB)行业标准来分,法兰分为:
整体法兰 对焊法兰 板式平焊法兰
对焊环板式松套法兰 平焊环板式松套法兰 翻边环板式松套法兰 法兰盖
4、按国家(GB)标准来分,法兰分为:
整体法兰 螺纹法兰 对焊法兰
带颈平焊法兰 带颈承插焊法兰
对焊环带颈松套法兰 板式平焊法兰 对焊环板式松套法兰 平焊环板式松套法兰
翻边环板式松套法兰 法兰盖
5、按照连接方式法兰连接种类来分,法兰分为:
板式平焊法兰、带颈平焊法兰、带颈对焊法兰、承插焊法兰、螺纹法兰、法兰盖、带颈对焊环松套法兰、平焊环松套法兰、环槽面法兰及法兰盖、大直径平板法兰、大直径高颈法兰、八字盲板、对焊环松套法兰等。
6、按所联接的部件可分为容器法兰及管法兰。
7、按结构型式分,有整体法兰、螺纹法兰、平焊法兰对焊法兰、活套(松套、活舌)法兰和法兰盖。
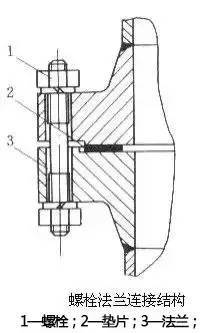
法兰连接的形式
法兰连接(flange,joint):由一对法兰、一个垫片及若干个螺栓螺母组成。法兰联接是一种可拆联接。
原理:垫片放在两法兰密封面之间,拧紧螺母后,垫片表面上的比压达到一定数值后产生变形,并填满密封面上凹凸不平处,使联接严密不漏。
性能:较好的强度和密封性,结构简单,成本低廉,可多次重复拆卸,应用较广 。
失效形式:主要表现为泄漏,泄漏量控制在工艺和环境允许的范围内。
一、法兰封面形式包括
密封面形式 代号
平面 FF
突面 RF
凹凸面 凸面 MFM M
凹面 FM
榫槽面 榫面 TG T
槽面 G
环连接面 RJ
法兰类型与密封面型式
法兰类型 密封面型式 压力等级PN,MPa
板式平焊法兰(PL) 突面(RF) 0.25~2.5
全平面(FF) 0.25~1.6
带颈平焊法兰(SO) 突面(RF) 0.6~4.0
凹凸面(MFM) 1.0~4.0
榫槽面(TG) 1.0~4.0
全平面(FF) 0.6~1.6
带颈对焊法兰(WN) 突面(RF) 1.0~25.0
凹凸面(MFM) 1.0~16.0
榫槽面(TG) 1.0~16.0
环连接面(RJ) 6.3~25.0
全平面(FF) 1.0~1.6
法兰类型 密封面型式 压力等级PN,MPa
整体法兰(IF) 突面(RF) 0.6~25.0
全平面(FF) 0. 6~1.6
承插焊法兰(SW) 突面(RF) 1.0~10.0
凹凸面(MFM) 1.0~10.0
榫槽面(TG) 1.0~10.0
螺纹法兰(Th) 突面(RF) 0.6~4.0
全平面(FF) 0.6~1.6
对焊环松套法兰(PJ/SE) 突面(RF) 0.6~4.0
法兰类型 密封面型式 压力等级PN,MPa
平焊环松套法兰(PJ/PR) 突面(RF) 0.6~1.6
凹凸面(MFM) 1.0~1.6
榫槽面(TG) 1.0~1.6
法兰盖(BL) 突面(RF) 0.25~25.0
衬里法兰盖(BL(S)) 突面(RF) 0.6~4.0
凸面(M) 1.0~4.0
榫面(T) 1.0~4.0
平焊法兰标准及相关介绍
导语:我想大家关于法兰应该有一定的了解,法兰的用途有好多,法兰是管子与管子之间连接的一个器件。关于法兰市场上也有好多规格,法兰又被分为整体法兰、活套法兰还有螺纹法兰三种。他们分别被用在不同的地方,今天小兔就关于法兰而言,系统向大家解释一下法兰的制作标准。有兴趣的朋友请认真的阅读,希望能够帮助到你。
一、法兰的简单介绍
平焊法兰一般简称为平板,还称搭焊法兰。平焊法兰与管道的连接是先将管子插入法兰内孔至适当位置,然后再搭焊。
二、 法兰的概况
板式平焊钢制管法兰,带颈平焊钢制管法兰
平焊法兰适用于压力等级比较低,压力波动、振动及震荡均不严重的管道系统中。平焊法兰优点在于平焊法兰焊接装配时较易对中,并且价格比较便宜,因而得到了广泛的应用。
产品规格 DN10-DN2000
三、法兰的标准
化工部标准:
板式平焊钢制管法兰
HG20593-2009
HG20615-2009
国家标准:GB/T9119-2010
GB/T2555-81
机械部标准:JB/T81-94
JB/T74-94
JB/T75-94
船用标准:
大型平焊法兰
CB M1001-81
使用压力PN0.25MPa ,PN0.6MPa ,PN1.0MPa,PN1.6MPa ,PN2.5MPa,PN4.0MPa
产品类别全平面板式法兰(FF),突面板式法兰(RF)
平焊法兰的密封原理:螺栓的两个密封面相互挤压法兰垫片并形成密封,但这同时也导致密封的破坏。为了保持密封,就得维持巨大的螺栓作用力,为此,螺栓就要做得更大。而更大的螺栓就要匹配更大的螺母,这就意味着需要直径更大的螺栓为上紧螺母创造条件。然而螺栓的直径越大,适用的法兰就会变得弯曲,唯一的办法就是增大法兰部分的壁厚。整个装置将需要极大的尺寸和重量,这在近海环境下便成了一个特殊问题,因为在这种情况下重量始终是人们必须引起关注的主要问题。而且,从根本上来说,平焊法兰是一种无效的密封,它需要把50%的螺栓负荷用于挤压垫片,而用于保持压力的负荷只剩50%。
大家看完后是否对你们有所帮助呢?法兰的使用往往是配合着垫片一起使用,其实垫片是一种能产生塑变的一种材料,配合这种性质法兰能够更好地起着它连接管道的作用。在法兰的制造上又分为纯料锻造,和毛料锻造的分来,其实在实际当中钢板适用于平焊法兰和离心铸造。好了希望我的介绍可以帮助到你,谢谢你的观看。
相关问答
【法兰标准中的SO、WN、RF、PL各代表什么意思】作业帮
[最佳回答]SO、WN、PL——管法兰类型代号SO——带颈平焊法兰WN——带颈对焊法兰PL——板式平焊法兰RF——密封面形式代号,密封面形式为“突面”.SO、WN、PL—...
法兰PL100-10(B)RF是什么意思?能否具体说明一下,谢谢?
PL100(B)-10RF的意思是:公称通径100MM(B系列配钢管外径108MM)密封面形式为突面,承受10公斤压力的板式平焊法兰。PL表示板式平焊法兰,100是表示公称通径,...P...
RF法兰和FF法兰有什么区别?
区别如下:1,FF是全平面法兰,RF是有密封面台阶的法兰。2,FF面一般用在压力低的法兰,或者是密封面需要贴PPH衬环密封面,起到耐腐蚀的作用。3,RF为凸面法...
阀门法兰连接RF、RJ、LG、FF分别表示什么意思?_汽配人问答
[最佳回答]密封面形式代号突面RF全平面FF环连接面RJ榫槽面TG凹凸面MFM适用于以下法兰的密封面:板式平焊PL带颈平焊SO带颈对焊WN整体法兰IF承插...
法兰中rf是什么意思?
法兰rf是意思:法兰指的是突面。法兰(Flange),又叫法兰凸缘盘或突缘。法兰是轴与轴之间相互连接的零件,用于管端之间的连接。也有用在设备进出口上的法兰,用...
平面法兰标准?
主要起连接作用,因此,法兰的主要特性就是连接方式及密封形式,主导影响参数是管道压力(介质不同影响材质选定),一般地讲:低压系统(PN<2.5MPA)采用平焊或...低...
1-1/2"RF是代表多大的法兰?急–960化工网问答
急最佳答案是美标的法兰a明金协smeb16.5是它的标准sa105是法兰材料的标准也是asme的s022/1"这个没有看太懂是尺寸但你写的是显素会几寸150...
法兰标准中的SO、WN、RF牛、PL各代表什么意思-ZOL问答
法兰是一种用于连接和密封的机械零件,分为多种类型。常见的法兰类型包括带颈平焊法兰(SO)、带颈对焊法兰(WN)、板式平焊法兰(PL)、螺纹法兰(Th)等。每种类型的...
法兰的RF是什么法兰的RF是什么意思,是普通的吗?
RF是法兰的密封面形式,是最普通的突面,一般没有特别说明的话法兰就是这种密封面。RF是法兰的密封面形式,是最普通的突面,一般没有特别说明的话法兰就是这种密...
m面法兰尺寸?
(1)ANSIB16.5是美洲法兰体系,150LB是压力等级为150磅,WN是对焊法兰,RF是说法兰的密封面形式为突面(石化行业的人称为凸台面),18〃—48〃表示法兰的规格尺寸...
