真正的旅游神镜?佳能RF 24-120mm f28 IS镜头曝光
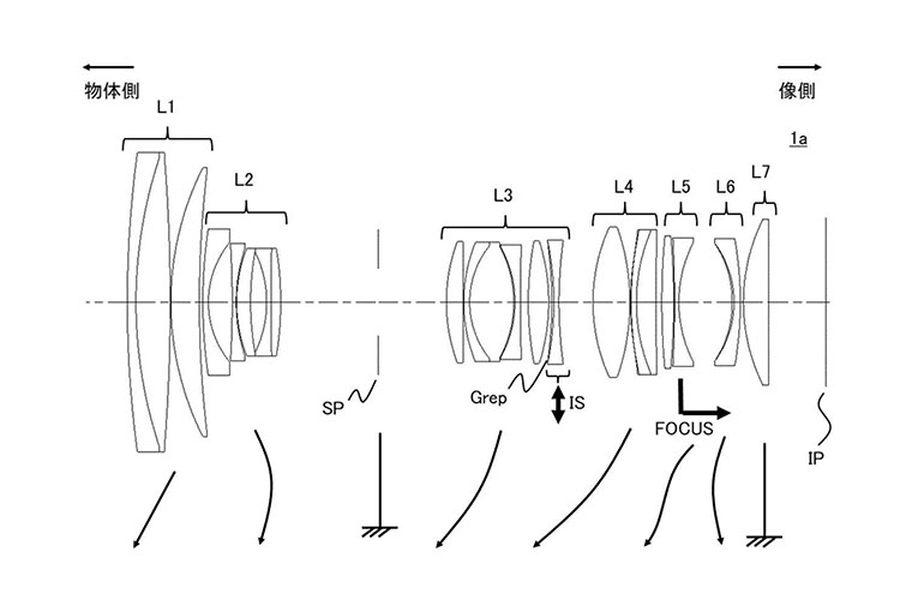
近日,国外网站曝光了佳能新镜头的专利申请,是一支型号为RF 24-120mm f/2.8 IS的高倍变焦恒定大光圈镜头。过去佳能一直只有24-105mm f/4的镜头,虽然其售价也比较亲民,但跟与其他品牌的24-120mm焦段镜头相比,实用性上总是差一点点,再加上只有恒定f/4光圈,以现在角度来看似乎不太能满足用户的要求。而这次曝光的这支RF 24-120mm f/2.8 IS的设计不仅焦距范围更合大众心意,更同时加入恒定f/2.8大光圈以及IS防抖设计,完 美地将大家的要求一次过融合到一支镜头内!只是不知道如果真的产品化的话到时的体积重量以及定价是如何!
via:dcfever
尼康Z系列标准变焦镜头Z 24-120mm F4 S评测报告
2019年Z卡口镜头线路图中出现了“S-Line 24-105mm”,直到今年10月之前,尼康方面仍准备推出一款“24-105mm”。有意思的是,10月28日尼康正式发布的却是Z 24-120mm f/4 S,不得不说计划赶不上变化。
-01-产品综述
对于“ 24-120mm f/4 ”这个规格,尼康用户再熟悉不过,反倒是此前规划的“24-105mm”更像是友商的规格。胶片时代尼康曾推出过AF 24-120mm f/3.5-5.6 D IF,2010年则发布过恒定F4的AF-S 24-120mm f/4 G ED VR ,Z 24-120mm f/4 S的出现算是一种传承。
与友商24-105mm相比120mm长焦端拍得更远,整体焦距范围更大,恐怕这也是尼康发布实物与线路图不同的原因。“ 24-120mm f/4 ”这一规格,目前除了尼康,大部分厂商均采用“ 24-105mm f/4 ”,其中无反镜头包括:佳能RF24-105mm F4 L IS USM、索尼FE 24-105mm F4 G OSS 、松下LUMIX S 24-105mm F4 MACRO O.I.S.三款产品。那么Z 24-120mm f/4 S又有什么亮点?下面小编将其与AF-S 24-120mm f/4 G ED VR 以及佳能、索尼的“24-105mm f/4”进行对比:
规格对比
索尼FE 24-105mm F4 G OSS与尼康Z 24-120mm f/4 S结构对比
从规格对比来看,Z 24-120mm f/4 S相比AF-S 24-120mm f/4 G ED VR更长,但重量是几款对比镜头中最轻的。在特殊镜片应用上这款镜头并不含糊,采用1枚非球面低色散(ED)镜片和3枚低色散(ED)镜片,有效减轻从近距离至无限远的轴向色差,提供清晰画面,并且减少焦平面前后的渗色。另外,这款镜头和高端镜头一样,采用了纳米结晶涂层+ARNEO涂层应对眩光鬼影。Z 24-120mm f/4 S与佳能、索尼同类产品相比,胜在长焦更远和对焦距离更近但镜头本身不具备光学防抖依赖机身防抖。
索尼FE 24-105mm F4 G OSS与尼康Z 24-120mm f/4 S的MTF对比
成像方面,我们先来看看纸面实力,由于长焦端焦距存在差异,官方MTF曲线对比仅做参考。Z 24-120mm f/4 S的MTF曲线表现出色,广角端(24mm)从中心到15mm都能维持在0.9以上,与索尼表现相当,大概18mm开始快速下滑,20mm开外极限边缘略弱于索尼,长焦端Z 24-120mm f/4 S在10mm内维持在0.9以上,15mm出也能在0.75以上,15-20mm边缘部分出现明显下滑。至于实拍表现如何,笔者后文会进行实拍测试。
-02-外观与细节
设计上Z 24-120mm f/4 S更像小一圈的Z 24-70mm f/2.8 S,没有信息屏和DISP按钮,显得镜身有些空。镜身没有显眼的金色标识,采用高质量的黑色缎面涂层。镜头对焦环、变焦环采用条棱(硬质橡胶)。控制环则改为带有十字纹纹理的滚花,用户可以通过手感明显区分不同的环,这一变化是自Z 微距 105mm f/2.8 VR S开始的新设计。
Z 24-120mm f/4 S采用新一代外观设计,在镜身侧面没有“NIKKOR S”铭牌。改为型号上方新增“NIKKOR ”logo,S-Line标识“S”明显增大,且从镜头尾部挪到控制环上方,这使品牌和S-Line更突显更有辨识度。
镀膜方面,Z 24-120mm f/4 S采用对斜向入射光有效的纳米结晶涂层和对垂直入射光有效的ARNEO(抗反射高清)涂层,有效减少鬼影和眩光。另外,这款镜头最前端的镜片表面采用尼康氟涂层,可防止灰尘附着,并易于清洁。
对焦环
变焦环
尼康Z 24-120mm f/4 S不同于Z 24-70mm f/4 S、Z 24-200mm f/4-6.3 VR的“双环”设计,由于控制环与对焦环分开搭载,在镜身前中后共有三个环,前端为对焦环,中部较宽的为变焦环,后端为多功能控制环,三个环中变焦环有些涩,整体操作比较顺滑。
控制环与对焦开关(M-A)
控制环与对焦环分开设计,相机可以分配给控制环其他功能,包括对焦(M/A)、ISO感光度、光圈和曝光补偿,从而提供更直观的操作。
24mm端和120mm端伸缩状态
为了同时适用于静止图像和视频的高精度自动对焦控制,这款镜头采用步进马达(STM)实现安静的自动对焦。得益于全新光学设计,这款镜头所有焦距最近对焦距离均为约0.35m,可实现约0.39倍的最大复制比率,具备一定近摄能力。Z 24-120mm f/4 S采用多重对焦系统,利用多个自动对焦驱动单元准确控制多个对焦镜头组的位置。该系统通过有效补偿像差,还有助于改善近摄分辨率。此外,为了适应视频录制,这款镜头有效减少调焦时可能发生的视角偏移,使用户可以在设置构图后自由地改变对焦位置。
这款镜头除了对焦(M/A)开关,还设有L-Fn(镜头功能)按钮,可方便用户在机身上设定各项功能。
铝合金卡口
泰国生产
镜头卡口部分,采用铝合金材质,既能保持耐用性,又能减轻重量。Z卡口采用全电子设计,11个触点实现镜头和相机高速的信息传输。该镜头内配备带驱动装置的光圈叶片元件,通过来自机身的电子信号控制光圈,这样设计电磁光圈装置在连拍期间也能有效控制光圈,有助于实现稳定的光圈控制。
-03-成像测试
下面我们看一下Z 24-120mm f/4 S的光学素质:笔者测试使用尼康Z7II作为机身。拍摄使用RAW+JPG、AWB设置、ISO 100。
1. 镜头锐度
为了测试这款镜头的解析力,我们采用远距离拍摄建筑的方法,该拍摄距离常被一般用户用于拍摄风景。为了减少场曲对中心和边缘锐度的影响,笔者对中心和边缘分别进行MF拍摄并且截取。
24mm中心和边缘锐度截取位置(无限远)
左:中心 右:边缘
F4.0
F5.6
F8.0
F11
F16
F22
这款镜头24mm在全开光圈下中心锐度出色,而画面最边缘的清晰度就要差一些了,建筑物轮廓和细节有些肉;F5.6-F8之间中心依然保持较高的锐度,边缘画面有一定改善,F8时边缘锐度较好;当光圈收到F11-F16时,镜头锐度开始出现轻微下降;F22时,该镜头受到衍射影响锐度已经比较差了,笔者并不推荐使用这档光圈进行拍摄。
120mm中心和边缘锐度截取位置(无限远)
左:中心 右:边缘
F4.0
F5.6
F8.0
F11
F16
F22
120mm端在全开光圈下,这款镜头中心锐度依然非常不错,而边缘表现要稍差一些;在F5.6-F8.0两档光圈上中心依旧出色,边缘锐度稍有改善;F11-F16时,画面锐度逐渐变差;F22时整个画面已经比较肉了,不推荐使用。
2. 畸变测试
畸变是五种基本像差之一,不影响镜头成像精细度。在摄影中,一般广角镜头容易产生桶形畸变。长焦镜头容易产生枕形畸变。畸变与物像点离光轴的垂直高度的立方成正比,因此,物像四角的畸变比物像的四边的畸变程度大。我们本次测试的镜头焦距为24-120mm,标准变焦镜头广角端易出现桶形畸变,而长焦端则会出现枕形畸变。
24mm畸变控制
120mm畸变控制
从实拍来看,这款镜头24mm端存在较轻微桶型畸变,而120mm端则表现出色,畸变并不明显。需要注意的是这款镜头机内畸变控制为灰色,并不能开关矫正。
3. 失光测试
失光俗称暗角,指对着亮度均匀景物,画面四角有变暗的现象,暗角对于任何镜头都不可避免。一般来说前组镜采用了大口径镜片,确保充足进光量,可以起到减轻作用。
24mm端
F4.0暗角控制
F4.5暗角控制
F5.0暗角控制
F5.6暗角控制
120mm端
F4.0暗角控制
F4.5暗角控制
F5.0暗角控制
F5.6暗角控制
暗角方面,24mm端F4下这款镜头存在比较明显的暗角,光圈收缩逐步减轻,F5.6下仍有轻度暗角;120mm全开下也有明显暗角,光圈收到F5.6还有轻微暗角。
4. 紫边表现
我们用镜头边缘部分拍摄室内灯光,由于灯光和黑暗墙面形成大光比,我们可以通过观察灯光边缘,来判断色散程度。
24mm端
F4.0/F4.5/F5.6
120mm端
F4.0/F4.5/F5.0/F5.6
从图中可以看到24mm端F4.0下灯边缘有较轻紫边,光圈收缩紫边虽然有所减轻,但不能完全消除,可见这款镜头的紫边主要来自倍率色差;再看120mm端,F4全开下存在很轻微的紫边,程度上比24mm端更轻,收缩F5.6紫边完全可以忽略。总的来说,尼康采用1枚非球面低色散(ED)镜片和3枚低色散(ED)镜片,确实有效减轻轴向色差,仅残留少量倍率色差,长焦端要比广角端表现更好。
5. 焦外效果
24mm F4.0焦外虚化
120mm F4.0焦外虚化
笔者用Z 24-120mm f/4 S拍摄路边篱笆。全开F4.0光圈下,我们来观察树丛纵深的虚化效果,从实拍来看24mm端由于焦距广和光圈小,虚化程度非常有限,远处光斑较小有些杂乱。而120mm由于焦距的优势,虚化程度明显增强,但焦外表现仍显得有些生硬。
6. 星芒表现
星芒效果,属于光线绕射的特殊现象,一般导因于镜头光圈缩的太小。星芒的形状对称与否,完全取决于镜头的光圈叶片形状,而芒数的多寡则取决于叶片的片数。奇数片的镜头出来的光芒数是叶片数的两倍。
星芒测试截取位置
星芒局部
上面我们用Z 24-120mm f/4 S在 F11小光圈拍摄远处路灯,可以看到这款镜头的18条星芒,星芒形态比较不错,由粗变细,针状放射。
7. 抗眩光表现
24mm端
F4.0
F8
120mm端
F4.0
F8
前文谈到这款镜头采用纳米结晶涂层和抗反射高清ARNEO涂层,前者应对斜向入射光后者应对垂直入射光。我们使用24mm端和120mm端分别拍摄树旁透过的阳光,光圈分别设为F4和F8。从实拍来看24mm端全开存在比较明显鬼影,光圈收缩鬼影面积缩小,但更明显;120mm端,全开有一定眩光,而收缩光圈(F8)眩光和鬼影会进一步加重。从实拍来看,虽然这款镜头应用了纳米结晶涂层+ARNEO涂层,但实际抗眩光效果并不理想,建议用户还是带上遮光罩,尽量减少杂光影响。
8. 呼吸效应测试
尼康强调Z 24-120mm f/4 S减小对焦呼吸效应的影响,可有效减少调焦时可能发生的视角偏移,使用户可以在设置构图后自由地改变对焦位置。
视频加载中...
呼吸效应测试
视频演示中,笔者使用Z 24-120mm f/4 S无论是24mm还是120mm全开光圈拍摄纵深栅栏,对焦位置在远近不同的情况下,画面视角变化不算明显。为了进一步验证这款镜头的视频性能,我们变焦过程中观察焦点位置,从视频来看这款镜头可以做到广角到中焦,焦点位置不偏移,只是在最后进入长焦部分焦点靠前。这样的表现对于摄影镜头来说已经算不错了。
-04-实拍样张
-05-评测总结
通过前文的测试,我们可以看到Z 24-120mm f/4 S整体素质优良,拥有出色的中心锐度,较低的色散、畸变和呼吸效应,如果说缺点在暗角、极限边缘锐度以及抗眩光能力仍有待加强。其中暗角可通过机内矫正解决,眩光需要遮光罩和改变角度。整体来说,Z 24-120mm f/4 S是一款焦距范围更广、定位中高端的“套头”,它与Z 24-70mm f/4 S相比,块头更大、价格更高,但长焦更远,可以应对更多拍摄题材;与Z24-200mm f/4-6.3VR相比,略大略重略贵、长焦焦距略短、无镜头防抖,但光圈恒定且更大、整体光学素质更好、全焦段近摄更强。如今Z卡口上至Z 24-70mm f/2.8 S下至Z 24-50mm f/4-6.3提供5款24mm起步的变焦镜头,无论价位、成像性能、体积重量还是焦段范围都能满足用户不同档次的需求。
作者·编辑 | 梁爽
相关问答
佳能rf24120是全画幅?
是全画幅。佳能RF24-240mmF4-6.3ISUSM这枚镜头不论是焦段还是体积重量,都是符合大变焦的需求的。从画质来看,我们不能苛求一个具有10倍变焦的全画幅镜头有...
105F4卖得很好,而尼康的24-120F4卖得却不好?-ZOL问答
尼康的24-120F4虽然焦段略长,但可能在市场上没有找到与佳能类似的高度认可度或特定应用场景优势,导致相对不那么热门佳能的24-105F4镜头可能因为其在人像摄影和...
类风湿的病人结核菌素实验阳性能用益赛普吗_千问健康
2007年初曾经治疗情况和效果;用了激素症状减轻想得到怎样的帮助:有没有更好的方法,Rf;120Mg.其他的都正常
创维42l02rf是什么型号?
第三代酷开tv。42L02RF具有120Hz倍频驱动技术、V2第二代数字引擎、10Bit驱动技术、双屏智慧芯数字处理芯片等尖端科技,配合全高清1920*1080的屏幕、3D环绕立体...
对佳能下一代无反EOSRII,你希望有哪些参数的具体提升?
4K30p我觉得应该提升到60P的标准吧,甚至可能会有6K的可能。1080P120帧,则应该是标配,没商量。5、连拍速度在90D和M6上实现的超高速,转移过来就行!6、拨轮...
rf12w/a空调是几匹的?
5匹品牌chunlan/春兰型号RF12W/A-N3断电保护有。空调功率5匹空调技术定速适用面积60平米以上。5匹品牌chunlan/春兰型号RF12W/A-N3断...
慢性咽炎如何根治_千问健康
咽喉处有痰咽不下去也很难咳出来痰色是白的.闻到刺激性气味要咳嗽.感冒吃了辣的东西后特别严重.能否根治平时怎么保养。
好基友们,能否告诉我!!成都ZTE120km光模块测试,120km光模...
[回答]1、正常值为12db,设备发送光口发出的光功率大小为-12dBm。正确的单位写法应该是dBm,大小写都不能随意改变。而且前面应该有个“-”号。2、工程应用...
2021了佳能200D二代还适合买吗,就喜欢拍一些风景,人物和老街?
2021年,大概最值得买的单反相机就是佳能200D二代了,拍风景、人物和老街,足够了。摄影圈的歪风邪气主要表现就是不比技术比器材,不看水平看钱包。数码产品的...
最近五届世界杯冠军,哪支队最强?
很高兴回答这个问题,我个人认为近五届世界杯冠军,最强当属2010年的西班牙!1998年法兰西世界杯冠军法国法国队主教练雅凯,当年排出球队442的阵型。门将巴特...
