管道RF 管法兰及其密封形式选用速查,涨知识

小编头像

小编

管理员

发布于:2026年04月14日

174 阅读 · 0 评论

管法兰及其密封形式选用速查,涨知识

管法兰及其垫片、紧固件统称为法兰接头。法兰接头是工程设计中使用极为普遍、涉及面非常广泛的一种零部件。它是配管设计、管件阀门必不可少的零件,而且也是设备、设备零部件(如人孔、视镜液面计等)中必备的构件。此外,其它专业如工业炉、热工、给排水、采暖通风、自控等,也经常使用法兰接头。

GB国标钢法兰标准

国标法兰是指按中华人民共和国国家标准《GB/T 9112~9124-2010钢制管法兰》的规定生产的法兰片。

国标法兰标准由中华人民共和国国家质量监督检验检疫总局和中国国家标准化管理委员会于2011-01-10联合发布,从2011-10-01起实施的推荐性标准。

GB/T 9112~9124-2010一共包括了以下13项标准:

代替了国标GB/T9112-2000;GB/T10745-1989标准

GB/T 9112-2010 钢制管法兰类型与参数

GB/T 9113-2010 整体钢制管法兰

GB/T 9114-2010 带颈螺纹钢制管法兰

GB/T 9115-2010 对焊钢制管法兰

GB/T 9116-2010 带颈平焊钢制管法兰

GB/T 9117-2010 带颈承插焊钢制管法兰

GB/T 9118-2010 对焊环带颈松套钢制管法兰

GB/T 9119-2010 板式平焊钢制管法兰

GB/T 9120-2010 对焊环板式松套钢制管法兰

GB/T 9121-2010 平焊环板式松套钢制管法兰

GB/T 9122-2010 翻边环板式松套钢制管法兰

GB/T 9123-2010 钢制管法兰盖

GB/T 9124-2010 钢制管法兰

技术条件

我国现行的法兰标准分为两个体系,分别是PN系列(欧洲体系)和Class系列(美洲体系)。

本标准规定的压力标记分为PN标记和Class标记。

PN标记有12个压力等级,分别为:

PN2.5; PN6; PN10; PN16; PN25; PN40; PN63; PN100; PN160; PN250; PN320; PN400

Class标记有6个压力等级,分别为:

Class 150; Class 300; Class 600; Class 900; Class1500; Class 2500

法兰的材质:锻钢、WCB碳钢、不锈钢、316L、316、304L、304、321、铬钼钢、铬钼钒钢、钼二钛、衬胶、衬氟材质。

执行标准有GB系列(国家标准)、JB系列(机械部)、HG系列(化工部)、ASME B16.5(美标)、BS4504(英标)、DIN(德标)、JIS(日标)。

国标法兰和非标法兰的区别在哪?

1、国标法兰属于通用件,各种规格的法兰的外径、螺孔、厚度都是固定的。而且国标法兰考虑了安全因素,所以尺寸与厚度取的安全余量比较大。

2、而非标法兰一般是企业或者个人为了节约材料,或者就地取材,而自己设计的法兰。

一般非标法兰都会设计的比国标法兰小一点、薄一点,以节约材料,也可以更改密封面形式,比如用O型圈密封。

3、国标法兰市场上都能买到,非标法兰必须自己设计、自己加工。

4、非标法兰适用场合不多,比如一个设备筒体法兰工作压力只有0.3MPA,你觉得没必要用0.6MPA的国标法兰,你就自己设计一个小而薄的非标法兰,但是必须考虑自己设计与加工的成本要小于你节约下来的材料成本。

法兰类型和密封面形式

一、板式平焊法兰

板式平焊法兰(化工标准HG20592、国家标准GB/T9119、机械JB/T81):取材方便,制造简单,成本低,使用广泛;但刚性较差,因此不得用于有供需、易燃、易爆和较高真空度要求的化工工艺配管系统和高度、极度危害的场合。平焊法兰的主要设计缺点是它不能保证无泄漏。

密封面型式有平面和突面。

二、带颈平焊法兰

带颈平焊法兰属于国标法兰标准体系。是国标法兰(又称GB法兰)的其中一种表现形式,是设备或管道上常用的法兰之一。

带颈平焊法兰颈部高度较低,对法兰的刚度、承载能力有所提高。与对焊法兰相比,焊接工作量大,焊条耗量高,经不起高温高压及反复弯曲和温度波动,但现场安装较方便,可省略焊缝拍揉伤的工序。

三、带颈对焊法兰

带颈对焊法兰全称带颈对焊钢制管法兰,也叫高颈法兰,英文名称:Slip-on 简称SO。

带颈平焊法兰同板式平焊法兰一样也是将钢管、管件等伸入法兰内通过角焊缝与设备或管道连接的法兰。

带颈平焊法兰的密封面形式有:

突面(RF)、凹面(FM),凸面(M)、榫面(T),槽面(G),全平面(FF)。

带颈平焊法兰的通径范围:DN10~DN600

适用范围:PN系列 PN2.5~PN40; Class系列Class150~Class1500

法兰材料:碳素钢、珞钼钢、304、316、304L、316L、321、347、CF8C。

制造工艺 :锻造。

优点:带颈平焊法兰也属于平焊法兰,因为有个短颈,从而提高了法兰的强度改善了法兰的承载力度。所以可以用于更高压力的管道上。

缺点:较板式平焊法兰而言造价更高,由于其形状的特点在运输途中更容易磕碰。

四、整体法兰

整体法兰是一种法兰的连接方式。也是属于带颈对焊钢制管法兰的一种。材质有碳钢、不锈钢、合金钢等。在国内各个标准之中,用IF来表示整体法兰。多用于压力较高的管道之中。生产工艺一般为铸造。

在法兰类型中就是用一个“IF”来表示整体法兰的类型。一般为突面(RF),如果在易燃、易爆、高度和极度危害的使用工况之中,则可以选用除了RF面之外的凸凹面(MFM)及榫槽面(TG)的密封面的形式。

五、承插焊法兰

承插焊法兰是一端与钢管焊接另一端用螺栓连接的的法兰。

密封面形式:突面(RF)、凹凸面(MFM)、榫槽面(TG)、环连接面(RJ)

应用范围:锅炉压力容器、石油、化工、造船、制药、冶金、机械、冲压弯头食品等行业承插焊法兰:常用于PN≤10.0MPa,DN≤40的管道中;

六、螺纹法兰

螺纹法兰是将法兰的内孔加工成管螺纹,并和带螺纹的管子配套实现连接,是一种非焊接法兰。它和平焊法兰或对焊法兰相比,螺纹法兰具有安装、维修方便的特点,可在一些现场不允许焊接的管线上使用。

合金钢法兰有足够的强度,但不易焊接,或焊接性能不好,亦可选择螺纹法兰。但在管道温度变化急剧或温度高于260℃低于-45℃的条件下,建议不使用螺纹法兰,以免发生泄漏。

七、对焊环松套法兰

对焊环松套法兰是可以活动的法兰片,一般是配套在给排水配件上,厂家出厂时伸缩节两端就各有一片法兰,直接与工程中的管道、设备用螺栓连接。

使用对焊环松套法兰的目的一般是为了节省材料,其结构分成两部分,管子部分一头和管道接,一头做成对焊环。法兰盘采用低等级的材料,而管子部分使用和管道一样的材料,达到节省材料的目的。

对焊环松套法兰的优点:

1、节约成本。当管材材质特殊,价格昂贵时,焊接同样材质的法兰成本高。

2、不便于焊接或不便于加工或需要的强度大。如塑料管、玻璃钢管之类。

3、便于施工。如连接时法兰螺栓孔对应不便于找正或者防止日后更换设备法兰螺栓孔有变等。

缺点:

1、承受压力低。

2、焊环处强度低(特别是厚度3mm以下时)

八、平焊环松套法兰

平焊环松套法兰盘是可以活动的法兰片。直接与工程中的管道、设备用螺栓连接。使用平焊环松套法兰盘的目的一般是为了节省资料,其结构分成两部分,管子局部一头和管道接,一头做成翻边,法兰盘部分套在翻边上。法兰盘采用低等级的资料,而管子局部使用和管道一样的资料,达到节省资料的目的。

平焊环松套法兰的优点:

1)方便于焊接或方便于加工或需要的强度大,如塑料管、玻璃钢管之类。

2)便于施工,如连接时法兰螺栓孔对应方便于找正或者防止日后更换设备法兰螺栓孔有变等。

3)价格高贵时,节约本钱。当管材材质特殊,焊接同样材质的法兰成本高。

平焊环松套法兰的缺点:

1)接受压力低。

2)焊环处强度低(特别是厚度3mm以下时)

九、法兰盖

法兰盖也称盲板法兰、盲板。是中间不带孔的法兰,供封住管道堵头用。作用与焊接封头及丝扣管帽是一样的,只不过盲板法兰和丝扣管帽可以随时卸下来,而焊接封头则不行。

密封面的形式种类较多,有全平面、突面、凹凸面、榫槽面、环连接面。

十、衬里法兰盖

衬里法兰盖是一种盲板法兰,接近介质的一边堆焊不锈钢,为1 个整体。衬里法兰盖用在有腐蚀性介质的管道上作盲板用。与普通法兰盖的区别是与介质接触面增加了防腐衬层。

法兰代号标记规定

PN系列

其中,b为法兰的类型

c为法兰的公称尺寸与适用钢管外径系列。若为A系列可以省略,B系列须在后面注明。另外,整体法兰、螺纹法兰、法兰盖的适用钢管外径系列可省略。

d为公称压力等级PN

e为密封形式代号

f为钢管壁厚,由用户提供。带颈对焊法兰、对焊环(松套法兰)应注明钢管壁厚

g为材质牌号

h表示其他。比如附加的要求

CLASS系列

其中,b为法兰的类型

c为法兰的公称尺寸

d为公称压力等级Class

e为密封形式代号

f为钢管壁厚,由用户提供。带颈对焊法兰、对焊环(松套法兰)应注明钢管壁厚

g为材质牌号

h表示其他。比如附加的要求

最全面的“法兰”知识

我国现行的法兰标准分为两个体系,分别是PN系列(欧洲体系)和Class系列(美洲体系)。

PN系列公称压力等级采用PN表示,包括以下九个等级:PN2.5、PN6、PN10、PN16、PN25、PN40、PN63、PN100、PN160。

Class系列公称压力等级采用Class表示,包括以下六个等级:Class150、 Class300、Class600、Class900、Class1500、Class2500。

法兰的公称压力等级对照表

磅级(class)15030060090015002500公称压力PN(Bar)2050110150260420

LB与PN是压力等级,不是简单的压力单位,就是LB可与MPa相互换算,但是LB与PN是不能简单的换算的。

因为压力等级本身就应该是无次的,只是不同的等级标准,互换时除了要考虑LB与MPa的换算关系,大概是MPa=0.007×LB。

HG/T20592-2009与HG/T20592-97法兰标准中公称压力的区别。

压力换算公式:1巴(bar)=100000帕(Pa)=10牛顿/平方厘米=0.1MPa(MPa就是兆帕)是国际标准组织定义的单位。

在HG/T20592-2009法兰标准中压力为PN16,与HG/T20592-97法兰标准中压力PN1.6的压力是相同的,即我们平时所说的16公斤压力。

2009版公称压力是按bar为单位,97版公称是按MPa为单位,16bar=1.6MPa。

法兰的概念与分类

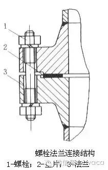
法兰又叫法兰盘或凸缘盘。法兰是使管子与管子相互连接的零件,连接于管端;也有用在设备进出口上的法兰,用于两个设备之前的连接。法兰连接或法兰接头,是指由法兰、垫片及螺栓三者相互连接作为一组组合密封结构的可拆连接,管道法兰系指管道装置中配管用的法兰,用在设备上系指设备的进出口法兰。法兰上有孔眼,螺栓使两法兰紧连。法兰间用衬垫密封。法兰按连接方式可分为螺纹连接(丝扣连接)法兰和焊接法兰。

1、按化工行业标准来分,法兰分为:

板式平焊法兰(PL)带颈平焊法兰(SO)带颈对焊法兰(WN)整体法兰(IF)承插焊法兰(SW)螺纹法兰(Th)对焊环松套法兰(PJ/SE)法兰盖(BL)平焊环松套法兰(PJ/PJ)衬里法兰盖(BL(s))

2、按石化(SH)行业标准来分,法兰分为:

螺纹法兰(PL)对焊法兰(WN)平焊法兰(SO)承插焊法兰(SW)松套法兰(LJ)法兰盖(不表注)

3、按机械(JB)行业标准来分,法兰分为:

整体法兰对焊法兰板式平焊法兰对焊环板式松套法兰平焊环板式松套法兰翻边环板式松套法兰法兰盖

4、按国家(GB)标准来分,法兰分为:

整体法兰螺纹法兰对焊法兰带颈平焊法兰带颈承插焊法兰对焊环带颈松套法兰板式平焊法兰对焊环板式松套法兰平焊环板式松套法兰翻边环板式松套法兰法兰盖

5、按照连接方式法兰连接种类来分,法兰分为:

板式平焊法兰、带颈平焊法兰、带颈对焊法兰、承插焊法兰、螺纹法兰、法兰盖、带颈对焊环松套法兰、平焊环松套法兰、环槽面法兰及法兰盖、大直径平板法兰、大直径高颈法兰、八字盲板、对焊环松套法兰等。

法兰连接的形式

法兰连接(flange,joint):由一对法兰、一个垫片及若干个螺栓螺母组成。法兰联接是一种可拆联接。

原理:垫片放在两法兰密封面之间,拧紧螺母后,垫片表面上的比压达到一定数值后产生变形,并填满密封面上凹凸不平处,使联接严密不漏。

性能:较好的强度和密封性,结构简单,成本低廉,可多次重复拆卸,应用较广 。

失效形式:主要表现为泄漏,泄漏量控制在工艺和环境允许的范围内。

按所联接的部件可分为容器法兰及管法兰。

按结构型式分,有整体法兰、螺纹法兰、平焊法兰对焊法兰、活套(松套、活舌)法兰和法兰盖。前面我们提到了。

整体法兰 系指泵、阀、机等机械设备与管道连接的进出口法兰,通常和这些管道设备制成一体,作为设备的一部分。

螺纹法兰 是将法兰的内孔加工成管螺纹,并和带螺纹的管子配合实现连接,是一种非焊接法兰。与焊接法兰相比,它具有安装、维修方便的特点,可在一些现场不允许焊接的场合使用。但在温度高于260℃和低于-45℃的条件下,建议不使用螺纹法兰,以免发生泄漏。

平焊法兰 又称搭焊法兰。平焊法兰与管子的连接是将管子插入法兰内孔至适当位置,然后在搭焊,其优点在于焊接装配时较易对中,且价格便宜,因而得到了广泛的应用。按内压计算,平焊法兰的强度约为相应对焊法兰的三分之二,疲劳寿命约为对焊法兰的三分之一。所以,平焊法兰只适用于压力等级比较低,压力波动、振动及震荡均不严重的管道系统中。

平焊定义:待焊表面处于近似水平位置,从接头上面进行的焊接。

水平方向焊接水平板焊接一般叫平焊。焊缝倾角0°~5、焊缝转角0°~10°的焊接位置称为平焊位置,而在平焊位置进行的焊接就称为平焊。这种焊接位置属于焊接全位置中,最容易焊的一个位置。

平焊法兰 :通过角焊缝直接与设备或管道焊接的一种法兰。其结构简单,加工方便。

(1)用在容器上又分甲型平焊法兰和乙型平焊法兰。甲型平焊法兰直接与容器焊接,其解焊缝尺寸较小或不开坡口焊接,不能保证法兰与容器同时受力;乙型平焊法兰附有一段较厚的短节,法兰与短节的焊接质量可靠,能保证法兰与容器同时受力。平焊法兰广泛用于中、低压容器和管道的连接。

对焊法兰又称高颈法兰刚性较大,适用于压力温度较高的场合。

(2)用在接管上又有板式平焊法兰、带颈平焊法兰和带颈对焊法兰三种类型。

板式平焊法兰:由于法兰直接与钢管焊接,法兰盘在操作时受力状态差,易发生形变。适用于低压场合。

带颈平焊法兰:由于增加了一厚壁的短节法兰颈,因此增加了法兰的刚度,大大减小了法兰变形。适用于中、低压场合。

对焊法兰又称高颈法兰 ,它与其他法兰不同之处在于从法兰与管子焊接处到法兰盘有一段长而倾斜的高颈,此段高颈的壁厚沿高度方向逐渐过渡到管壁厚度,改善了应力的不连续性,因而增加了法兰强度。对焊法兰主要用于工况比较苛刻的场合,如管道热膨胀或其他载荷而使法兰处受的应力较大,或应力变化反复的场合;压力、温度大幅度波动的管道和高温、高压及零下低温的管道。

对焊:对接电阻焊(简称对焊)是利用电阻热将两工件沿整个端面同时焊接起来的一类电阻焊方法。对焊的生产率高、易于实现自动化,因而获得广泛应用。

对焊分为电阻对焊和闪光对焊两种。

松套法兰 的连接实际也是通过焊接实现的,只是这种法兰是松套在已与管子焊接在一起的附属元件上,然后通过连接螺栓将附属元件和垫片压紧以实现密封,法兰(即松套)本身则不接触介质。这种法兰连接的优点是法兰可以旋转,易于对中螺栓孔,使用在大口径管道上易于安装,也适用于管道需要频繁拆卸以供清洗和检查的地方。其法兰附属元件材料与管子材料一致,而法兰材料可与管子材料不同,因此比较适合于输送腐蚀性介质的管道。

(3)其它形式的法兰连接

法兰连接也是暖通空调行业中的阀门用得最多的连接形式。按结合面形状又可分为以下几种:

1)光滑式:用于压力不高的阀门。加工比较方便。

2)凹凸式:工作压力较高,可使用中硬垫圈。

3)榫槽式:可用塑性变形较大的垫圈,在腐蚀性介质中使用较广泛,密封效果较好。

4)梯形槽式:用椭圆形金属环作垫圈,使用于工作压力≥64公斤/cm2的阀门,或高温阀门。

5)透镜式:垫圈是透镜形状,用金属制作。用于工作压力≥100公斤/cm2的高压阀门,或高温阀门。

6)O形圈式:这是一种较新的法兰连接形式,它是随着各种橡胶O形圈的出现,而发展起来的,它在密封效果上比一般平垫圈可靠。

法兰的密封形式

一、法兰密封面形式包括

密封面形式 代号 平面FF突面RF凹凸面凸面MFMM凹面FM榫槽面榫面TGT槽面G环连接面RJ

二、法兰类型与密封面型式

法兰类型密封面型式压力等级PN,MPa板式平焊法兰(PL)突面(RF)0.25~2.5全平面(FF)0.25~1.6带颈平焊法兰(SO)突面(RF)0.6~4.0凹凸面(MFM)1.0~4.0榫槽面(TG)1.0~4.0全平面(FF)0.6~1.6带颈对焊法兰(WN)突面(RF)1.0~25.0凹凸面(MFM)1.0~16.0榫槽面(TG)1.0~16.0环连接面(RJ)6.3~25.0全平面(FF)1.0~1.6法兰类型密封面型式压力等级PN,MPa整体法兰(IF)突面(RF)0.6~25.0凹凸面(MFM)1.0~16.0榫槽面(TG)1.0~16.0环连接面(RJ)6.3~25.0全平面(FF)0. 6~1.6承插焊法兰(SW)突面(RF)1.0~10.0凹凸面(MFM)1.0~10.0榫槽面(TG)1.0~10.0螺纹法兰(Th)突面(RF)0.6~4.0全平面(FF)0.6~1.6对焊环松套法兰(PJ/SE)突面(RF)0.6~4.0法兰类型密封面型式压力等级PN,MPa平焊环松套法兰(PJ/PR)突面(RF)0.6~1.6凹凸面(MFM)1.0~1.6榫槽面(TG)1.0~1.6法兰盖(BL)突面(RF)0.25~25.0凹凸面(MFM)1.0~16.0榫槽面(TG)1.0~16.0环连接面(RJ)6.3~25.0全平面(FF)0.25~1.6衬里法兰盖(BL(S))突面(RF)0.6~4.0凸面(M)1.0~4.0榫面(T)1.0~4.0

法兰的使用范围及代号说明

法兰标记

钢管外径系列是管法兰尺寸的基础。我国目前生产和使用的钢管,从外径来分有两个系列:标准中标注为“系列Ⅰ”和“系列Ⅱ”,或称“A系列”及“B系列”。系列A的钢管为“英制管”,俗称“大外径管”;系列B的钢管为“公制管”,俗称“小外径管”。

所谓“大外径管及小外径管”的含义是:在相同管道公称通径的条件下,管道附件(诸如法兰、阀门、管件及管道过滤器等)所配用钢管外径尺寸的大小,尺寸大的叫“大外径”管;尺寸小的叫“小外径”管。

例如:公称通经DN100的法兰,配管外径为114.3mm及108mm两种,外径114.3mm的钢管称为“大外径”管或“A系列”管;外径108mm的钢管称为“小外径”管或“B系列”管。

PN 系列

法兰按下列规定标记:

HG/T 20592法兰(或者法兰盖)

其中,b为法兰的类型

c为法兰的公称尺寸与适用钢管外径系列。若为A系列可以省略,B系列须在后面注明。另外,整体法兰、螺纹法兰、法兰盖的适用钢管外径系列可省略。

d为公称压力等级PN

e为密封形式代号

f为钢管壁厚,由用户提供。带颈对焊法兰、对焊环(松套法兰)应注明钢管壁厚

g为材质牌号

h表示其他。比如附加的要求

法兰按下列规定标记:

HG/T 20615法兰(或者法兰盖)

其中,b为法兰的类型

c为法兰的公称尺寸

d为公称压力等级Class

e为密封形式代号

f为钢管壁厚,由用户提供。带颈对焊法兰、对焊环(松套法兰)应注明钢管壁厚

g为材质牌号

h表示其他。比如附加的要求

法兰类型法兰类型代号标准号板式平焊法兰PL带颈平焊法兰SOHG 20616带颈对焊法兰WNHG 20617整体法兰IFHG 20618承插焊法兰SWHG 20619螺纹法兰ThHG 20620对焊环松套法兰PJ/SEHG 20621平焊环松套法兰PJ/PR法兰盖BLHG 20622衬里法兰盖BL(S)大直径管法兰WNHG 20623

法兰的常见故障

在现代工业的连续生产中法兰受介质腐蚀、冲刷、温度、压力、震动等因素的影响,会不可避免的出现泄露问题。由于密封面加工尺寸的误差,密封元件的老化以及安装紧固不当等原因极易造成法兰的渗漏。如果不能及时治理法兰渗漏问题,在介质的冲刷下会使渗漏迅速扩大,造成物料的损失,生产环境的破坏,导致企业停机停产,造成巨大的经济损失。如果是有毒有害、易燃易爆的介质泄漏,还有可能造成人员中毒、火灾爆炸等重大事故。

传统解决法兰渗漏的方法为更换密封元件和涂抹密封胶或者更换法兰及管道,但该方法具有很大的局限性,且有的渗漏受工作环境安全的要求限制,无法现场进行解决。现可以采用高分子复合材料进行现场堵漏,其中应用比较成熟的有福世蓝的体系。其是一个很理想的方法,特别是在易燃易爆场合下,更显示其独有的优越性。高分子复合材料技术施工工艺简单、安全,且费用低,能够为企业解决大部分的法兰渗漏问题,消除安全隐患,为企业节省更多的维修成本。

欢迎您加入暖通南社学习交流互动社区:

QQ 群群号 主要功能 目前人数 127278380注册暖通及资深设计、甲方居多;999人162504281以施工、设计技术人员居多994人161153868施工、暖通空调造价人员居多293人191232844土建、建筑施工人员居多875人194045991主要以吸收南方工程技术人员267人189417984纯设备群,初建21人365552966加各类不能明确的技术人员,待以后再行分配37人235204658以注考为主的群258人184579553以厂商技术研发人员、维保人员为主的群991人145754593以加施工人员为主的群233人338391569专为求职人员设立的群331人168494112以洁净空调和各特色专业设立的群863人241676445专业设计群,为新手们准备375人171780399南社唯一允许自由广告的推广群340人170823423综合交流群994人492479546BIM专业交流群231人303891401以暖通空调自控、家居系统集成为主的群260人167899477吸收以北方工程技术人员为主的群309人其他各QQ群请百度:“暖通南社QQ群”查找。本QQ群所有群均为实名加群,加群请注明:“地区-姓名-专业”方能加群成功,每个人最多可加两个群,恶意加群者拉黑。所有群现在实行更替制,即新加人同时踢出最后一个发言的人。加各地区微信群,请注明:“地区-姓名-专业”加微信号:1114325507。高级专业技术人员可加QQ:13301898699,可获取南社认可的“南社工程专业技术人员俱乐部”证书。推广及商务合作,请加QQ:13301898699或微信号:1114325507

本次更新信息:2016年12月3日。微信公众号:nhvaca

加我个人微信号: 1114325507 ,拉你进暖通南社各片区和专业微信群。

相关问答

法兰尺寸及密封面rf是什么意思?

法兰尺寸(Flangedimensions)是指法兰连接中的尺寸参数,用于确定法兰的大小、厚度和外围轮廓。法兰连接是通过将两个法兰用螺栓紧固在一起来连接管道、阀门或...

万和热水器报警显示rf,是什么意思?

万和热水器显示RF代码,通常表示燃气问题或电路故障。具体来说,RF代码可能表示燃气压力低、燃气管道堵塞、燃气阀门损坏、燃气泄漏等情况。此外,电路故障也可能...

管道垫片的描述GASKET,CL150,RF,3.0MMTHICK,RINGTYPEPTFE,AS...

[最佳回答]楼上的大概的意思已经讲了:美标法兰(ASMEB16.5/B16.5),JOBSTD型,压力150#密封面形式为突面(RF),3.0MM厚度,四氟垫片.你之后问到的B16.21/B16.5与...

“法兰PL150-16RF”是什么意思?“150-16”是什么意思?

法兰PL150-16RF是PL表示板式平焊法兰;150是表示公称通径150mm;RF表示密封面形式是突面;16是压力16公斤压力,即1.6MPa。法兰PL150-16RF是PL表示板式平焊法.....

wn40-25rf啥意思?

"WN40-25RF"是一个标识符,它描述了一个法兰连接的规格。让我为您解释一下:"WN"代表带颈对焊法兰(WeldNeckFlange),这是一种常见的...

万和燃气热水器rf故障-ZOL问答

RF讨论回答(7)万和燃气热水器故障排除方法万和燃气热水器是众多家庭中常用的...此时需要检查气体管道是否畅通以及混合比例是否正确。另外,在使用过程中还要...

工业管道相关符号代表意思?-答疑解惑-广联达服务新干线

[最佳回答]你提到的都是美标ASTM中的一些术语,找技术部门。

阀门上的DN和PN是什么意思?

阀上门的DN:表示阀门的公称通径,就是阀门口径的大小;阀上门的PN表示阀门的公称压力,就是阀门的耐压范围。PN全称(pressurenominal):代表公称压力,单位是M...

管道单线图中的阀门表达-答疑解惑-广联达服务新干线

请问管道单线图中,GATE:VALVE,API600,B16.10,CL150,RF(B16.5),BB,OS&Y,FLEX,SPRINGLOADED,A216WCB,TRIM:STL,...

请教专家液氨是否禁用RF法兰-盖德问答-化工人互助问答社区

我们这里都是按rf法兰设计的,压力不到12kg/cm2液氨管路法兰按规范应该是mfm法兰,但是也可以用rf的液氨管路法兰按规范应该是mfm法兰就是为了安全。

标签:

相关阅读